Flame Proof Double Compression Glands are generally used in flammable gas / vapours area (for gas group I, IIA & IIB) as well as in normal climatic conditions also which are weather proof, water proof and dust proof (IP-66) which can be used in Hazardous climatic condition. Also when protected by PVC shrouds it can be used in corrosive atmosphere. These glands are suitable for all types of cables like Armour , Unarmour, Power, Instrumention, XLPE etc.

SIZEAEFP01SSA TO AEFP 016
ENTRY THREADMETRIC
ALTERNATE THREADNPT, BSC ET, PG, METRIC, BSP
ENTRY THREAD RANGE1/2" TO 4.5" OR M12 TO M110
GLAND MATERIALBRASS (IS-319)
ALTERNATE MATERIALALUMINIUM, S.S, M.S
OPERATING TEMPERATURE-30 C TO +100 C
FINISHNICKEL PLATED
ALTERNATE FINISHTIN, CHROME
SEAL MATERIALNEOPRENE / SILICON
SEAL SHORE HARDNESS50 - 60
ACCESSORIESSHROUD, EARTH TAG, STOPPER,REDUCER,ADAPTORS (SUPPLIED SEPARATELY UPON REQUEST)
GLAND STANDARDBS 6121 , IS/IEC 60079-0:2011 ,IS/IEC 60079-1:2007 (Reaffirmed : 2012)
FLAMEPROOF PROTECTIONIS/IEC 60079-1:2007 (Reaffirmed : 2012)
INGRESS PROTECTIONIP 66 AS PER IS/IEC 60529:2001 (Reaffirmed 2014)
APPROVALOUR AEFP SERIES CABLE GLANDS ARE APPROVED BY CSIR-CENTRAL INSTITUTE OF MINING AND FUEL RESEARCH –DHANBAD
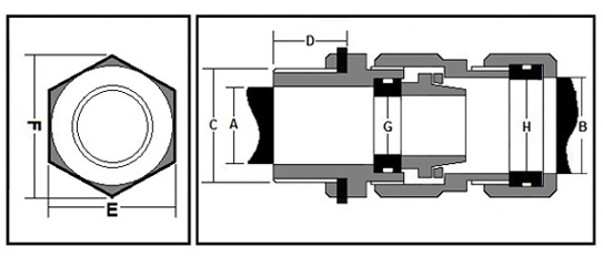
NoSIZE H G E FC (THREAD) D CABLE DIMENSION
(A/F) (A/C) ET MM (THREAD LENGTH)A
UNDER ARMOUR DIA
B
OVERALL DIA
1SFP 01SSA12.008.5019.5022.501/2"ETM12258.0010.0
2SFP 01SS13.509.0022.0025.003/4"ETM20258.0012.0
3SFP 01S17.5011.0025.0029.003/4"ETM202510.0016.5
4SFP 0119.5014.5027.5032.003/4"ETM202512.5018.0
5SFP 01A19.5014.5027.5032.001"ETM252512.5018.0
6SFP 0221.0016.0029.0034.001"ETM252514.0020.0
7SFP 02A21.0016.0029.0034.003/4"ETM202514.0020.0
8SFP 0323.5018.0031.0036.001"ETM252516.0023.0
9SFP 0427.5021.0037.0043.001"ETM252519.0026.0
10SFP 04A27.5021.0037.0043.001.1/4"ETM322519.0026.0
11SFP 0531.5025.0041.0047.001.1/4"ETM322523.0030.0
12SFP 05A31.5025.0041.0047.001.1/2"ETM402523.0030.0
13SFP 0634.0028.0046.0053.001.1/2"ETM402526.0033.0
14SFP 06A34.0028.0046.0053.001.1/4"ETM322526.0033.0
15SFP 0738.0031.0050.5058.001.1/2"ETM402529.0037.0
16SFP 0842.0036.0056.0064.002"ETM502534.0041.0
17SFP 0947.0041.0059.0067.002"ETM502539.0046.0
18SFP 01053.0045.0066.0076.002"ETM502543.0052.0
19SFP 010A53.0045.0066.0076.002.1/2"ETM632543.0052.0
20SFP 011S57.5051.0074.0085.002.1/2"ETM632549.0056.0
21SFP 01161.5055.0079.0092.002.1/2"ETM632553.0060.0
22SFP 01268.0062.0084.0097.003"ETM752560.0066.0
23SFP 013A74.0067.0090.00103.003"ETM752565.0072.0
24SFP 01379.0073.0099.00113.003.1/4"ETM822571.0078.0
25SFP 01486.0080.00105.00122.003.1/2"ETM902578.0084.0
26SFP 01596.0089.00116.00134.004"ETM1002587.0094.0
27SFP 016106.00103.00130.00149.004.1/2"ETM1102510.00104.0

ISO Certification

“Certified by Euro Certifications for ISO 9001:2015 Quality Management System. Paratpar Industry specializes in the manufacturing and export of brass cable glands and precision products.”

Research

There are many challenges we encounter in the industry, such as ensuring compliance with industry standards, optimizing product quality, and meeting customer expectations. We often find that balancing innovation with cost-efficiency is critical to overcoming these hurdles.

Our solution involved using cutting-edge technology and adhering to stringent quality control processes. By leveraging our expertise and industry insights, we were able to deliver high-performance products that exceeded expectations in both quality and reliability.

Yes, our client was extremely satisfied with the results. Not only did we meet their expectations, but we also provided them with long-term solutions that helped enhance their operations, leading to increased customer satisfaction on their end.

×
img

    Get In Touch

    Verify Code (required)

    Contact Info

    Phone number

    +91 9106401985

    Email address

    salesparatparindustry.com

    Address info

    Ketan Estate, Plot no 28, Behind Godown Zone, Dared, Jamnagar,

    Looking for Quality Cable Glands and Brass?
    Download our brochure to explore our range of high-quality products and find the perfect solution for your needs.

    "*" indicates required fields

    No, thank you. I do not want.
    Looking for Quality Cable Glands and Brass?
    Download our brochure to explore our range of high-quality products and find the perfect solution for your needs.

    "*" indicates required fields

    No, thank you. I do not want.