Flame Proof Double Compression Glands are generally used in hydrogen Gas/vapors area (for gas group IIC) as well as in normal climatic conditions also which are weather proof, water proof and dust proof (IP-65) which can be used in Hazardous climatic condition. Also when protected by PVC shrouds it can be used in corrosive Atmosphere. These glands are suitable for all types of cables like Armour, Unarmour, Power, Instrumention, XLPE etc.

SIZEAEFP IIC 01SSA TO AEFP IIC 016
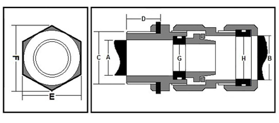
ENTRY THREADMETRIC
ALTERNATE THREADNPT, BSC ET, PG, METRIC, BSP
ENTRY THREAD RANGE1/2" TO 4.5" OR M12 TO M110
GLAND MATERIALBRASS (IS-319)
ALTERNATE MATERIALALUMINIUM, S.S, M.S
OPERATING TEMPERATURE-30 C TO +100 C
FINISHNICKEL PLATED
ALTERNATE FINISHTIN, CHROME
SEAL MATERIALNEOPRENE / SILICON
SEAL SHORE HARDNESS50 - 60
ACCESSORIESSHROUD, EARTH TAG, STOPPER, REDUCER, ADAPTORS (SUPPLIED SEPARATELY UPON REQUEST)
GLAND STANDARDBS 6121, IS/IEC 60079-0:2011, IS/IEC 60079-1:2007 (Reaffirmed : 2012)
FLAMEPROOF PROTECTIONIS/IEC 60079-1:2007 (Reaffirmed : 2012)
INGRESS PROTECTIONIP 66 AS PER IS/IEC 60529:2001 (Reaffirmed 2014)
APPROVALOUR AEFP SERIES CABLE GLANDS ARE APPROVED BY CSIR-CENTRAL INSTITUTE OF MINING AND FUEL RESEARCH –DHANBAD
NoSIZE H G E FC (THREAD) D CABLE DIMENSION
(A/F) (A/C) ET MM (THREAD LENGTH)A
UNDER ARMOUR DIA
B
OVERALL DIA
1AEFPIIC 01SSA12.008.5019.5022.501/2"ETM12258.0010.0
2AEFPIIC 01SS13.509.0022.0025.003/4"ETM20258.0012.0
3AEFPIIC 01S17.5011.0025.0029.003/4"ETM202510.0016.5
4AEFPIIC 0119.5014.5027.5032.003/4"ETM202512.5018.0
5AEFPIIC 01A19.5014.5027.5032.001"ETM252512.5018.0
6AEFPIIC 0221.0016.0029.0034.001"ETM252514.0020.0
7AEFPIIC 02A21.0016.0029.0034.003/4"ETM202514.0020.0
8AEFPIIC 0323.5018.0031.0036.001"ETM252516.0023.0
9AEFPIIC 0427.5021.0037.0043.001"ETM252519.0026.0
10AEFPIIC 04A27.5021.0037.0043.001.1/4"ETM322519.0026.0
11AEFPIIC 0531.5025.0041.0047.001.1/4"ETM322523.0030.0
12AEFPIIC 05A31.5025.0041.0047.001.1/2"ETM402523.0030.0
13AEFPIIC 0634.0028.0046.0053.001.1/2"ETM402526.0033.0
14AEFPIIC 06A34.0028.0046.0053.001.1/4"ETM322526.0033.0
15AEFPIIC 0738.0031.0050.5058.001.1/2"ETM402529.0037.0
16AEFPIIC 0842.0036.0056.0064.002"ETM502534.0041.0
17AEFPIIC 0947.0041.0059.0067.002"ETM502539.0046.0
18AEFPIIC 01053.0045.0066.0076.002"ETM502543.0052.0
19AEFPIIC 010A53.0045.0066.0076.002.1/2"ETM632543.0052.0
20AEFPIIC 011S57.5051.0074.0085.002.1/2"ETM632549.0056.0
21AEFPIIC 01161.5055.0079.0092.002.1/2"ETM632553.0060.0
22AEFPIIC 01268.0062.0084.0097.003"ETM752560.0066.0
23AEFPIIC 013A74.0067.0090.00103.003"ETM752565.0072.0
24AEFPIIC 01379.0073.0099.00113.003.1/4"ETM822571.0078.0
25AEFPIIC 01486.0080.00105.00122.003.1/2"ETM902578.0084.0
26AEFPIIC 01596.0089.00116.00134.004"ETM1002587.0094.0
27AEFPIIC 016106.00100.00130.00149.004.1/2"ETM11025100.00104.0

ISO Certification

“Certified by Euro Certifications for ISO 9001:2015 Quality Management System. Paratpar Industry specializes in the manufacturing and export of brass cable glands and precision products.”

Research

There are many challenges we encounter in the industry, such as ensuring compliance with industry standards, optimizing product quality, and meeting customer expectations. We often find that balancing innovation with cost-efficiency is critical to overcoming these hurdles.

Our solution involved using cutting-edge technology and adhering to stringent quality control processes. By leveraging our expertise and industry insights, we were able to deliver high-performance products that exceeded expectations in both quality and reliability.

Yes, our client was extremely satisfied with the results. Not only did we meet their expectations, but we also provided them with long-term solutions that helped enhance their operations, leading to increased customer satisfaction on their end.

×
img

    Get In Touch

    Verify Code (required)

    Contact Info

    Phone number

    +91 9106401985

    Email address

    salesparatparindustry.com

    Address info

    Ketan Estate, Plot no 28, Behind Godown Zone, Dared, Jamnagar,

    Looking for Quality Cable Glands and Brass?
    Download our brochure to explore our range of high-quality products and find the perfect solution for your needs.

    "*" indicates required fields

    No, thank you. I do not want.
    Looking for Quality Cable Glands and Brass?
    Download our brochure to explore our range of high-quality products and find the perfect solution for your needs.

    "*" indicates required fields

    No, thank you. I do not want.